Secure Fastening Hexagonal bolt packaging is designed to keep them organized and prevent damage. These packaging boxes come with a soft lining that has fitted slots. The bolts sit in them head-to-head, so each hex bolt stays put. This makes them quick to pick and place and prevents any scratches in shipping. For bulk transport, hexagonal bolts are often packed 500 pieces per bag. These bags are then put into inner boxes and reinforced wooden cases to keep the load stable. For critical industries, high-spec packaging options may meet strict military standards. This can include sealed, greaseproof, and waterproof bags that protect the bolts from corrosion during storage and shipping.
The grade on a hex bolt shows its strength. These grade markings are on the heads of bolts for easy identification. Common ISO grades include 4.6, 8.8, 10.9, and 12.9.Grade 8.8 is a common medium-strength bolt, while 10.9 and 12.9 are high-strength and used in demanding areas like cars and construction. ASTM standards like A307 and A325 also define bolt performance. Choosing Secure Fastening Hexagonal bolt the correct grade is key for safety, as it ensures the bolt can handle the load without failing.
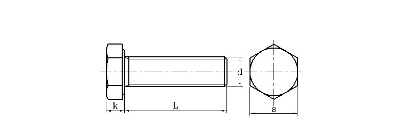
| mm | |||||||
| d | S | k | d | Thread | |||
| max | min | max | min | max | min | ||
| M3 | 5.32 | 5.5 | 1.87 | 2.12 | 2.87 | 2.98 | 0.5 |
| M4 | 6.78 | 7 | 2.67 | 2.92 | 3.83 | 3.98 | 0.7 |
| M5 | 7.78 | 8 | 3.35 | 3.65 | 4.82 | 4.97 | 0.8 |
| M6 | 9.78 | 10 | 3.85 | 4.14 | 5.79 | 5.97 | 1 |
| M8 | 12.73 | 13 | 5.15 | 5.45 | 7.76 | 7.97 | 1.25 |
| M10 | 15.73 | 16 | 6.22 | 6.58 | 9.73 | 9.96 | 1.5 |
| M12 | 17.73 | 18 | 7.32 | 7.68 | 11.7 | 11.96 | 1.75 |
| M14 | 20.67 | 21 | 8.62 | 8.98 | 13.68 | 13.96 | 2 |
| M16 | 23.67 | 24 | 9.82 | 10.18 | 15.68 | 15.96 | 2 |
| M18 | 26.67 | 27 | 11.28 | 11.7 | 17.62 | 17.95 | 2.5 |
| M20 | 29.67 | 30 | 12.28 | 12.71 | 19.62 | 19.95 | 2.5 |
Can you explain the material makeup and corrosion protection options for your Secure Fastening Hexagonal bolts?
We produce our hex bolts in different materials like low-carbon steel, stronger alloy steel, and stainless steel (A2-304 and A4-316). For protection against rust, we offer coatings such as electro-galvanized zinc, hot-dip galvanizing, and Dacromet. Choosing the right coating matters for how long the bolt lasts, especially in tough places like construction sites or near the sea.
