Home > Products > Bolt > Hexagon Head Bolt > High Torque Hexagonal Bolt
        High Torque Hexagonal Bolt
        • High Torque Hexagonal BoltHigh Torque Hexagonal Bolt
        • High Torque Hexagonal BoltHigh Torque Hexagonal Bolt

        High Torque Hexagonal Bolt

        he threaded end of the High Torque Hexagonal bolt features an arc-shaped root design, enabling it to withstand greater torque. Its hexagonal head facilitates easy installation and removal, making it widely used in construction projects. Xiaoguo is a fastener manufacturer with over 30 years of experience.

        Send Inquiry

        Product Description

        High torque hexagonal bolts are super common in construction—they’re the ones holding steel frames, bridges, and prefab buildings together. They keep beams and columns nice and secure. You can also see them everywhere on cars, used to fasten components such as the engine and chassis.hey are also applied in heavy machinery and agricultural equipment because they can withstand strong vibrations and variable loads exceptionally well.They perform reliably under stress and are a type of universal fastener.In numerous engineering and industrial applications, they are trusted to create strong yet detachable connection points, ensuring safety and durability for every project.

        Product Material Introduction

        The material a hexagonal bolt is made of matters a lot for its performance, how long it lasts, and whether it fits specific environments. The most common hexagonal bolts are made from carbon steel—it balances strength and affordability well for general uses. If you need better corrosion resistance, stainless steel High Torque Hexagonal bolt like grades 304 or 316 are a good choice. They work well in marine, chemical, and food processing industries. When the weather is hot or you need non-magnetic products, people will choose brass or bronze hex bolts.对For more arduous tasks — such as in aerospace or other important projects — people use hex bolts made of high-strength alloys, such as titanium alloy or Inconel alloy.These materials have high strength, moderate weight, and can withstand high temperatures and corrosion exceptionally well

        Q&A Session

        Which international standards do you high-torque hex bolts comply with?What intensity levels are available for selection?

        Our high-torque hex bolts meet common international standards—stuff like ISO 4014, ISO 4017, DIN 933, DIN 931, and ASTM A307. When it comes to strength grades, we’ve got classes 4.8 and 8.8. We also carry the higher-strength ones: 10.9 and 12.9. Each bolt has a clear mark for easy identification. That way, you get the right, certified product for your specific structural or machinery needs, and it ensures safety and performance.


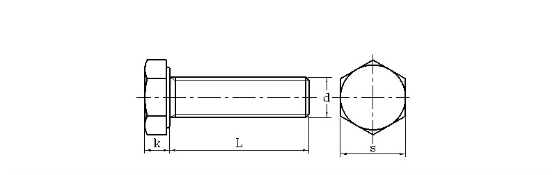
        High Torque Hexagonal bolt6

                                                                                                                                                                                                           mm
        d S k d Thread
        max min max min max min
        M3 5.32 5.5 1.87 2.12 2.87 2.98 0.5
        M4 6.78 7 2.67 2.92 3.83 3.98 0.7
        M5 7.78 8 3.35 3.65 4.82 4.97 0.8
        M6 9.78 10 3.85 4.14 5.79 5.97 1
        M8 12.73 13 5.15 5.45 7.76 7.97 1.25
        M10 15.73 16 6.22 6.58 9.73 9.96 1.5
        M12 17.73 18 7.32 7.68 11.7 11.96 1.75
        M14 20.67 21 8.62 8.98 13.68 13.96 2
        M16 23.67 24 9.82 10.18 15.68 15.96 2
        M18 26.67 27 11.28 11.7 17.62 17.95 2.5
        M20 29.67 30 12.28 12.71 19.62 19.95 2.5

        Hot Tags: High Torque Hexagonal Bolt
        Related Category
        Send Inquiry
        Please Feel free to give your inquiry in the form below. We will reply you in 24 hours.
        X
        We use cookies to offer you a better browsing experience, analyze site traffic and personalize content. By using this site, you agree to our use of cookies. Privacy Policy
        Reject Accept